Овощерезка протирка Торгмаш Барановичи МПР-350М-03
Овощерезка протирка МПР-350М-03 производства Торгмаш Барановичи (Беларусь) профессиональная модель, предназначена для протирки вареных продуктов (картофеля, свеклы, моркови, жидких каш, гороха, фасоли, яблок, творога и т.д.), нарезки сырых и вареных продуктов (картофеля, свеклы, моркови, лука, репы, брюквы, огурцов, томатов и т.д.) на частицы различной геометрической формы, тонкого измельчения картофеля, моркови, а также шинковки капусты. Подходит для использования в ресторанах, столовых, фабриках-кухонь и производственных цехов.
Особенности модели:
- 11 видов нарезки (9 - нарезка, 2 - протирка);
- вместительный загрузочный бункер;
- производительность: до 350 кг/час (при нарезке) / до 600 кг/час (при протирке);
- для сырых и вареных продуктов.
Производительность нарезки:
- нарезка картофеля кружочками (ломтиками) толщиной 10 мм: 350 кг/ч;
- нарезка кружочками (ломтиками) толщиной 2 мм: 100 кг/ч;
- нарезка соломкой сечением 4х3 мм: 110 кг/ч;
- нарезка брусочками сечением 5х10 мм: 200 кг/ч;
- нарезка кубиками 10х10х10 мм: 250 кг/ч;
- нарезка брусочками сечением 10х10 мм: 250 кг/ч;
- тонкое измельчение картофеля: 120 кг/ч;
- тонкое измельчение моркови: 60 кг/ч;
- шинковка капусты толщиной 2 мм: 220 кг/ч.
Производительность протирки (на диске протирочном с отверстиями диаметром 4 мм):
- протирка вареного картофеля: 600 кг/ч;
- протирка вареных гороха, фасоли: 300 кг/ч;
- протирка вареных моркови, свеклы (после измельчения на диске терочном): 100 кг/ч;
- протирка жидких крупяных каш: 300 кг/ч;
- протирка творога: 300 кг/ч;
- протирка яблок печеных: 400 кг/ч;
- протирка тыквы: 400 кг/ч.
Производительность протирки (на диске протирочном с отверстиями диаметром 1,5 мм):
- протирка жидких крупяных каш: 150 кг/ч.
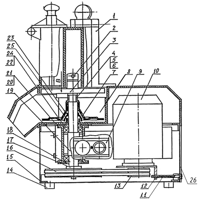
Конструкция:
- Приспособление для нарезки;
- Винт специальный;
- Сменные рабочие органы;
- Втулка;
- Гайка регулировочная;
- Контргайка;
- Сбрасыватель;
- Рабочая камера лотка;
- Панель;
- Электродвигатель;
- Болт натяжения;
- Плита подмоторная;
- Шкив;
- Опора;
- Рама;
- Ремень клиновой (Z(0)-800 ГОСТ 1284.1-89);
- Шкив;
- Крышка;
- Вал;
- Подшипники (206 ГОСТ 8338-75);
- Стакан;
- Манжета;
- Отражатель;
- Крышка;
- Гайка;
- Щиток;
- В – Рабочий зазор.

Для измельчения сырых и вареных продуктов необходимо установить на вал один из сменных рабочих органов. Приспособление для нарезки устанавливается на рабочую камеру. Перерабатываемый продукт подается в одно из окон приспособления для нарезки и проталкивается толкателями в зону резания.
- Корпус;
- Толкатель серповидный;
- Толкатель цилиндрический 1;
- Толкатель цилиндрический 2;
- Кронштейн.

Для протирки вареных продуктов необходимо установить на вал диск протирочный, затем ротор лопастной. Приспособление для протирки устанавливается на рабочую камеру.
- Корпус;
- Предохранитель;
- Ось;
- Втулка.

Эксплуатация:
- Овощи и картофель вымыть, очистить от кожуры и удалить глазки;
- Кочан капусты очистить от грязных листьев, вырезать кочерыгу, а затем порезать на части;
- Картофель должен подаваться на протирку очищенным от кожуры, без глазков, сваренным, без отвара, согласно рецептуре предприятий питания;
- Температура протираемого картофеля должна быть от +85 до +90°С;
- Крупы и бобовые подаются на протирку сваренными в виде жидких каш;
- Творог протирается без предварительной обработки. Яблоки подаются на протирку предварительно промытыми и очищенными от сердцевины, печеными или вареными;
- Морковь и свекла подаются на протирку сваренными, очищенными от кожуры и измельченными на диске терочном;
- Протертые овощи и творог должны представлять собой однородную массу без комочков;
- Протертое картофельное пюре должно быть однородным, не вязким, без комочков;
- Картофель не должен остывать ниже +80°C;
- При протирке жидких каш оболочка зерен должна оставаться на протирочном диске;
- Во избежание попадания мезги в протертую массу, необходимо периодически очищать диск.
В комплекте:
- диск протирочный 4 мм МПР-З50М.00.00.04;
- диск протирочный 1,5 мм МПР-З50М.00.00.05;
- нож комбинированный 5x10 мм МПР-З50М.14.00.00;
- нож дисковый 2 мм МПР-З50М.10.00.00;
- диск терочный МПР-З50М.11.00.00;
- диск шинковочный 4х3мм МПР-З50М.13.00.00;
- нож дисковый 10мм МПО-1.04.06.00;
- решетка ножевая 10x10 мм МПО-1.04.03.00;
- решетка ножевая 10 мм МПР-З50У.07.00.00;
- нож для нарезки 10 мм МПР-З50У.08.00.00;
- нож для нарезки соломкой 2х2 мм МПО-1.04.16.00;
- диск тонкого измельчения МПР-З50М.12.00.00.
Как купить
Оформление заказа
- Выберите товар и нажмите «В корзину».
- Перейдите в корзину и нажмите «Оформить заказ» или воспользуйтесь кнопкой «Купить в 1 клик» прямо со страницы товара.
- При оформлении укажите полное ФИО, телефон и e-mail контактного лица.
- Дождитесь звонка менеджера — он подтвердит наличие товара и сроки поставки.
Оплата
Физическим лицам:
- Банковская карта.
- СБП (Система быстрых платежей) — оплата по QR-коду через мобильное приложение банка, без комиссии.
Юридическим лицам и ИП:
- Безналичный расчёт по счёту — выставляем счёт и все необходимые закрывающие документы (УПД).
Доставка
Самовывоз из ПВЗ — бесплатно.
Доступен в Москве, Санкт-Петербурге и Тольятти. Сроки перемещения заказа уточняет менеджер.
Доставка до адреса — от 1 000 руб.
По Москве и ближайшему Подмосковью. Точные сроки и стоимость уточняйте у менеджера.
Доставка в регионы РФ осуществляется транспортными компаниями.
Доставка до терминалов Деловые Линии, ПЭК, СДЭК в Москве — бесплатно. Доставка до терминалов других ТК оплачивается по тарифам доставки по Москве.
Все сведения о товарах, размещённые на сайте, носят исключительно информационный характер и не являются публичной офертой, определяемой положениями ч.2, ст. 437 Гражданского кодекса Российской Федерации. Производитель вправе менять технические характеристики, внешний вид, комплектацию и страну производства любой модели без предварительного уведомления. Уточняйте характеристики у наших менеджеров перед оформлением заказа.
